里约奥运会第三比赛日综述:泳池刮起中国旋风
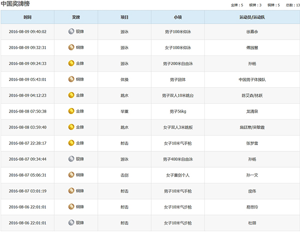
人民网8月9日电北京时间8月9日中午,里约奥运会第三个比赛日比赛全部结束,中国代表团收获颇丰,取得了14枚金牌中的2枚金牌。在金牌榜上,中国队代 表团5枚金牌与美国代表团并驾齐驱。在奖牌榜上,美国暂时领跑(5金7银7铜),中国代表团紧随其后(5金3银5铜),排名第三的是澳大利亚代表团(4金 3铜)。

中国:2金1银2铜入账
孙杨200米自由泳霸气夺冠 徐嘉余100米仰泳摘银傅园慧女子100米仰泳遗憾“手短”摘铜
陈艾森/林跃双人10米台无悬念夺金 体操男团遗憾摘铜
在男子双人10米台决赛中,陈艾森/林跃组合毫无悬念地以496.98分夺冠,夺得本届奥运会中国代表团第4枚金牌,中国队在男子10米台项目上实现四连冠。赛后BBC评论员调侃道:比赛真激烈!四五个国家都在争夺一枚银牌。这也体现出中国运动员在该项目上的统治力。
在体操男团决赛中,中国队以总成绩277.122分获得铜牌,无缘奥运会该项目三连冠。在这支中国男团中,只有队长张成龙具有奥运参赛经验,其他队员都是第一次参加奥运会,或许大赛经验不足造成了中国队未能卫冕成功,但是年轻的中国体操男团在收获一枚铜牌的同时也积累了宝贵的经验,相信中国队的小伙子在今后的大赛中将更上一层楼。
中国游泳队今天在蒂奥多罗水上中心刮起了一道中国旋风。孙杨在男子200米自由泳上以1分44秒65的成绩轻松夺得冠军,为中国游泳队在里约奥运会拿下第一枚金牌,同时也拿下自己本届奥运会的第二枚奖牌。孙杨的强势夺冠无疑给了澳大利亚运动员霍顿当头一棒,孙杨用实力堵住了澳大利亚人的嘴。
随后傅园慧在女子100米仰泳中以58秒76的成绩夺得一枚铜牌,获得亚军美国选手贝克成绩为58秒75。与冠军仅差0.01秒,傅园慧赛后调侃自己因为手短才未能摘得银牌,她无疑已成为段子手里面游得最快的人。
徐嘉余在男子100米仰泳项目中以52秒31的成绩为中国代表团再获一枚银牌。从喀山世锦赛到里约奥运会,徐嘉余一步一个脚印,这位年仅21岁的小将不断向世人证明他才是中国的“仰泳之王”。
诸强:哥伦比亚老将终夺冠 泰国选手举重赛场抢眼
男子举重62kg级:由于夺冠热门中国选手谌利军因伤退赛,其他选手看到了争夺金牌的希望。最终哥伦比亚老将菲格罗亚·莫斯克拉抓住了机会,为哥伦比亚举重队赢得了奥运会历史上第一枚金牌。参加过四届奥运会的老将菲格罗亚·莫斯克拉在赛后激动流泪,并深情地亲吻了杠铃。印度尼西亚选手伊拉万以312 公斤收获银牌,哈萨克斯坦选手卡尔奇以305公斤获得季军。
女子举重58kg级:泰国队在该项目实现大丰收,包揽冠亚军。斯里苏拉特获得冠军(抓举110kg、挺举130kg、总成绩240kg),西里卡乌获得亚军(抓举102kg、挺举130kg、总成绩232),季军被中华台北选手郭明春获得(抓举102kg、挺举129kg、总成绩231kg)。泰国举重队在本届比赛表现出色,截止目前已经获得2金1银1铜的成绩。
男子10米气步枪:中国的两名运动员曹逸飞和杨浩然双双发挥不佳,遗憾无缘决赛。冠军被意大利选手卡普利亚尼以总成绩206.1环成绩夺得,乌克兰运动员库里什以204.6环屈居亚军,俄罗斯选手马斯连尼科夫以184.2环摘得一枚铜牌。
男子飞碟多向:克罗地亚选手格拉斯诺维奇通过加赛战胜意大利选手佩列洛,两人分获冠亚军,英国选手凌获得铜牌。
体操男团决赛:日本与俄罗斯分获前两名,中国队位列第三。
女子柔道57kg级:东道主选手席尔瓦强势夺冠,蒙古选手多尔约苏伦获得亚军。
男子柔道73kg级:日本选手小野翔平获得冠军,亚军被阿塞拜疆选手奥鲁约夫获得。
女子佩剑:该项目俄罗斯为最大赢家,在决赛中俄罗斯选手维利卡亚15-14险胜同胞艾格日安惊险夺冠,
女子7人制橄榄球:澳大利亚24-17战胜新西兰获得冠军,新西兰屈居亚军,加拿大33-10英国获得季军。
女子100米仰泳:匈牙利选手霍斯祖以58秒48夺冠,美国选手贝克58秒75获得亚军,中国选手傅园慧与加拿大选手麦西以58秒76并列季军。
男子100米仰泳:美国选手墨菲以51秒97创世界纪录的成绩夺冠,徐嘉余获得银牌,美国选手普卢默获得铜牌。
女子100米蛙泳:美国选手金以1分04秒93刷新世界纪录的同时摘得金牌,俄罗斯选手埃菲莫娃获得亚军,美国另一选手梅里夺得铜牌,中国选手史婧琳获得第四,无缘领奖台。
中国队其他动态
女子网球单打方面,张帅止步第二轮,中国“金花”至此全部遗憾出局;乒乓球方面,马龙、丁宁、李晓霞、张继科战胜各自对手晋级下一轮;中国女篮 101-64大胜塞内加尔,赢得里约奥运首场胜利;中国男篮60-88负于法国,遭遇小组赛两连败;女子沙排中国0-2美国;帆船项目,徐莉佳第二轮因犯规被取消成绩排名降至第23位。
